Product Summary
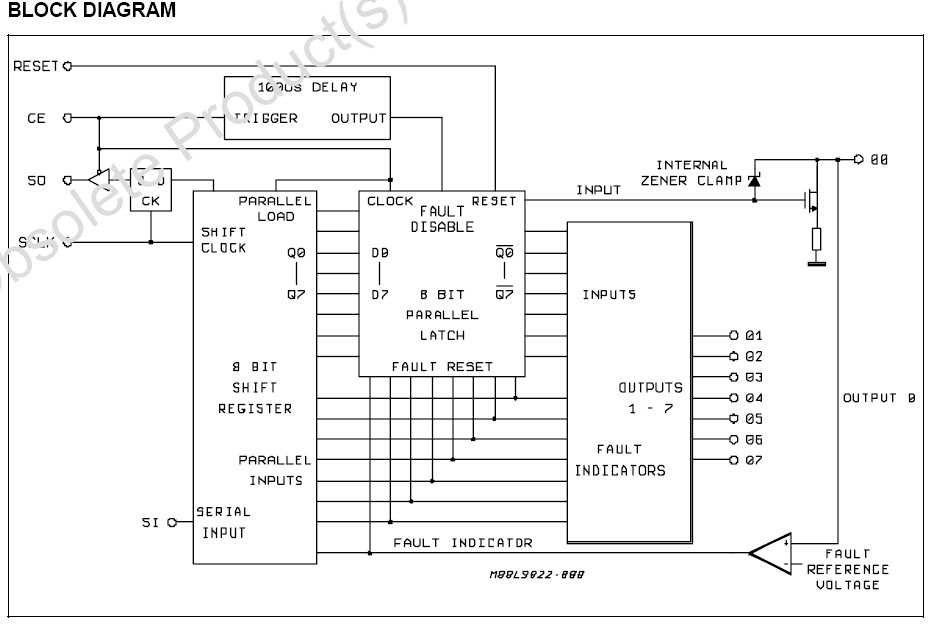
The L9822N is an octal low side solenoid driver realized in Multipower-BCD technology particularly suited for driving lamps, relays and solenoids in automotive environment. The DMOS outpts L9822N has a very low power consumption. Data is transmitted serially to the device using the Serial Peripheral Interface (SPI) protocol. The L9822N features the outputs status monitoring function.
Parametrics
L9822N absolute maximum ratings: (1)DC Logic Supply: –0.7 to 7 V; (2)VO Output Voltage:–0.7 to 40 V; (3)II Input Transient Current,(CE, SI, SCLK, RESET, SO); Duration Time t = 1s; VI < 0; VI > VCC: – 25 to + 25 mA; (4)Tj, Tstg Junction and Storage Temperature Range: – 40 to 150 ℃.
Features
L9822N features: (1)Eight low RDSON DMOS outputs(0.5W AT IO = 1A @ 25℃ VCC = 5V± 5%); (2)8 Bit serial input data(SPI); (3)8 Bit serial diagnostic output for overload and open circuit conditions; (4)Output short circuit protection; (5)Chip enable selection function(active low); (6)Internal 35V clamping for each output; (7)Cascadable with another octal driver; (8)Low quiescent current(10mA max.); (9)Package power SO20.
Diagrams

| Image | Part No | Mfg | Description | ![]() |
Pricing (USD) |
Quantity | ||||
|---|---|---|---|---|---|---|---|---|---|---|
![]() |
![]() L9822N |
![]() STMicroelectronics |
![]() Power Switch ICs - Power Distribution OCTAL SOLENOID DRVR |
![]() Data Sheet |
![]() Negotiable |
|
||||
![]() |
![]() L9822N013TR |
![]() STMicroelectronics |
![]() Power Switch ICs - Power Distribution OCTAL SOLENOID DRVR |
![]() Data Sheet |
![]() Negotiable |
|
||||
(China (Mainland))









